Каталог товаров
Каталог сантехники
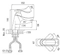
Смеситель D&K Liszt Bayern для раковины
Смеситель D&K Liszt Bayern для раковины
КОД ТОВАРА
21119
Артикул
DA1232101
Страна
Бренд
Серия
Ширина, см
4.7
Высота, см
14.1
Глубина, см
15.2
Назначение
для раковины
Стилистика дизайна
современный стиль
Длина излива, см
11.4
Цвет смесмителя
хром
Высота излива,см
6.4
Стандарт подводки
1/2"
Монтаж
на раковину
Материал
латунь
Управление
однорычажное
Гарантия
5 лет
Описание товара Смеситель d&k liszt bayern для раковины
<ul>
<li>латунь;</li>
<li>длина излива: 11.4 см;</li>
<li>для раковины;</li>
<li>подводка 1/2";</li>
<li>хром;</li>
<li>фиксированный излив;</li>
<li>керамический картридж;</li>
<li>рычажное управление.</li>
</ul>
Похожие товары
С этим товаром покупают







































